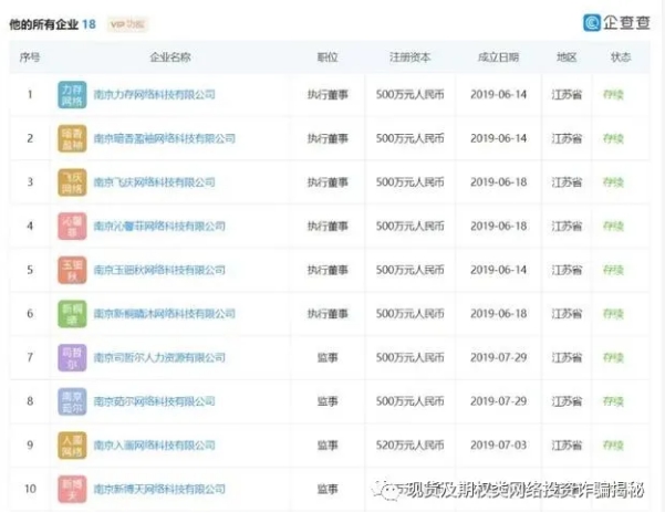
6月18日,南京多所高职院校九名在校学生被河南新乡警方跨省追捕并刑事拘留。据江苏当地新闻报道,原来,在2019年5月至8月的短短3个月时间内,这些涉事学生在别有用心之人的组织下,前往南京江北新区行政审批局注册总计数百家公司,数量之多让人咋舌,其中,甚至仅在某一名学生名下就有三十多家公司。
当学生们注册完公司后,上线组织者就会前来将他们的营业执照、公章等公司要件收走。这些注册的公司被人从事诈骗等违法犯罪行为,涉及金额巨大。
![]()
突遭抓捕,牵连众多
王女士儿子小强在南京交通技师学院上学,6月18日中午,儿子突然失联。在王女士不明就里、心急如焚的等待后,自己的儿子在19号傍晚仍未回家。
他当天说明天搞好了就回来,结果第二天晚上,家里没有人。我们辖区的派出所警察讲,就是被河南的警方带走了。
直到6月21日,王女士才得知儿子因涉嫌诈骗,被河南警方带走。
![]()
涉事学生收到的警方信息
不过,被河南警方跨省带走的学生并不只有王女士的儿子,在接受当地新闻采访时,该学校另一名家长指着自己手机里一张摄有警车的图片哭着表示,(孩子)在这个车上呢,车走到哪我就跟到哪。
就在王女士等待自家儿子的消息时,她讶异地发现自己儿子学校里还有其他同学也被牵连进去,甚至还有南京其他高职的学生,这些焦急又摸不着头脑的家长们互相得知消息后,只好聚在一起,互相打气传递消息。

7月2日,现代快报记者从涉事学生家长中获知,目前至少有江苏5所学校的9名学生被河南警方带走。理由是这些学生在有人组织下,前往南京江北新区行政审批局注册数百家公司。
陷阱重重,疑云暗涌
唯一没有被警方传唤的南京交通技师学院学生小刚向媒体透露了学生们是被组织者如何联系起来、如何靠注册公司赚钱的。
首先,社会势力会以个别在校学生为下线,代替他们将手伸到校园中;然后,直接与社会势力联系的极个别学生将会以介绍人身份,再在校园里发展下线,例如在校园兼职群里发布消息,告诉学生们每注册一个公司会支付三百到五百不等的报酬,并承诺会在三个月后统一注销公司。
那些图谋不轨的犯罪分子就这样向学生们打造出了一个看似不费吹灰之力、而且零风险零后顾之忧、都不用自己出本钱就可以赚取零花钱的机会,法律意识淡薄的学生们倘若真的心动也是在所难免。
然而,江苏三法律师事务所的律师倪杰针对此案表示,个人身份信息至关重要,必须妥善保管,尤其是出借身份注册公司更需谨慎。此次事件涉及的在校学生,没有清醒认识到自己的法人身份需要承担的责任,最后的结果只会是用极小的利益换来了巨大的代价。
一旦身份信息借用出去,那么必然你将承担借用身份信息的不利后果,公司的违法犯罪涉及到刑事处罚时,必然会落到法定代表人身上。
![]()
学生们注册的公司
南京江北新区行政审批局相关工作人员告诉记者,去年9月,他们已对这种大批量注册公司的情况就有所察觉,初步排查出疑似虚假注册企业近300家。
江北新区行政审批局经济事务审批办的工作人员祁爱民表示,当时她也察觉异常,试图组织学生们并让他们意识到事情的严重性。“几个小孩子都到我们大厅跟我吵过,当时我问过他们(涉案学生)是不是你们本人意愿,你们知不知道办公司是要承担责任的。”
然而,对法律意识的淡薄以及被眼前小利蒙住了眼睛,最终这些学生忽略了这份善意,走上了歧途。
等待真相,拒绝法外之财
目前该案仍在持续调查中,抓捕九名涉案学生只是警方行动中的一环,通过他们抓到利用学生身份信息用来注册空壳公司并进行违法诈骗行为的无良犯罪分子才是最终目的。
本案中的涉事学生,他们的无知与法律意识的淡薄既让他们成为了犯罪分子的帮凶,也让他们在某种程度上成为了受害者。就算他们的本意并不坏,但错已铸成,他们必须得为自己的行为付出相应代价。
当前涉案学生与其家长们能做的有以下两点:
首先就是要尽最大可能去注销已登记的公司,避免企业在存续期间,继续被人利用,从事违法犯罪行为。毕竟就算是空壳公司,一旦这些企业涉及到刑事处罚,必然会落到法人代表身上。
然后也要端正心态,积极配合办案,帮助警方查清事实,找出真正实施犯罪的幕后主使。
对于此案,网友评论,“空头公司一般都用做批量收款,违法跑路的,学生还是容易被灰色产业利用。”
大学生想要在上学期间通过自己的兼职赚取一定零花钱本无可厚非,但一定要树立知法守法的意识,理清自己该做什么不该做什么,对来路不明的不义之财保持警惕,擦亮眼睛,不要上当受骗,更不要误入歧途。
赚钱不规范,亲人两行泪。
![]()
